河南首轮机制电价竞价结果:风电0.304元/度
北极星风力发电网获悉,根据国网新能源云及相关部门公示信息,河南省已于近期公示了2025-2026年度首轮新能源增量项目机制电价的竞价结果。本次竞价区分风电、光伏两类项目,具体情况如下:
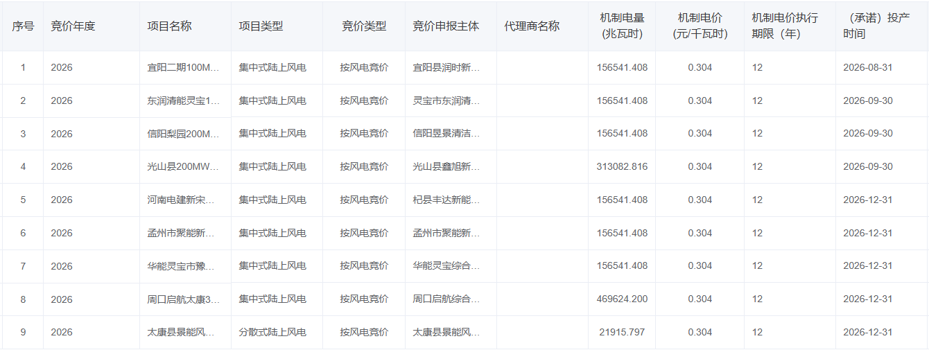
风电项目: 机制电价水平:0.304元/千瓦时 机制电量规模:3837612.561 兆瓦时(约38.38亿千瓦时) 涉及项目数量:19个
光伏项目: 机制电价水平:0.276元/千瓦时 机制电量规模:2796742.403 兆瓦时(约27.97亿千瓦时) 涉及项目数量:58658个
据悉,本次竞价主体为2025年6月1日至2026年12月31日期间计划投产或承诺投产,且满足河南“136号文”规定的风电、光伏项目。竞价入选项目的机制电价执行期限通常为12年。在竞价组织阶段,官方设定的风电、光伏竞价上限均为0.349元/千瓦时;下限分别为风电0.113元/千瓦时、光伏0.121元/千瓦时。最终出清价格均处于该区间内,且低于河南省现行燃煤发电基准价0.3779元/千瓦时。


免责声明:本站所有信息均来源于互联网搜集,并不代表本站观点,本站不对其真实合法性负责。如有信息侵犯了您的权益,请告知,本站将立刻删除。
