河南风电光伏竞价电价出炉,光伏0.276元/度,风电0.304元/度
2026年1月22日,国网新能源云公示河南省2026年风、光项目机制电价竞价结果。
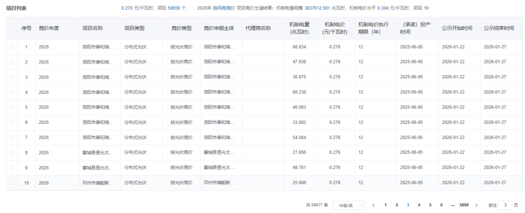
2026年按光伏竞价项目竞价出清结果:机制电量规模2796742.403兆瓦时,机制电价水平0.276元/千瓦时,项目58658个。
2026年按风电竞价项目竞价出清结果:机制电量规模3837612.561兆瓦时,机制电价水平0.304元/千瓦时,项目19个。
详情见下:



(以上仅为部分项目,完整项目清单可登陆新能源云查询)
免责声明:本站所有信息均来源于互联网搜集,并不代表本站观点,本站不对其真实合法性负责。如有信息侵犯了您的权益,请告知,本站将立刻删除。
