国富氢能完成1.4854亿港币定增|氢能装备融资全攻略
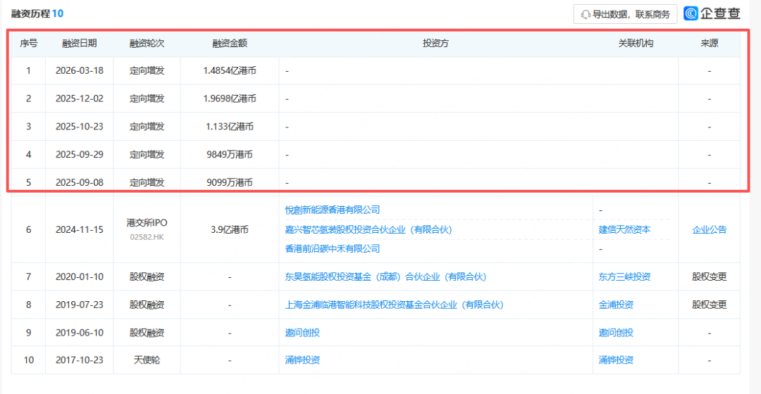
3月19日,企查查显示,国富氢能发布定向增发1.4854亿港币的信息。
据了解,自港交所IPO后,国富氢能已完成5次定向增发融资,累计融资金额6.483亿港币。


据悉,国富氢能成立于2016年,2024年11月15日在港交所主板上市,是“港股氢能装备全产业链制造第一股”。总部位于江苏省张家港市,拥有张家港、上海青浦等国内生产基地,并在德国、巴西、阿联酋、新加坡等国家设立子公司或合资公司,布局全球氢能市场。在上市前,国富氢能曾经历4轮融资,均未披露融资金额。
免责声明:本站所有信息均来源于互联网搜集,并不代表本站观点,本站不对其真实合法性负责。如有信息侵犯了您的权益,请告知,本站将立刻删除。
