大唐战略撤退海碳中心|碳市场转型关键节点
2026年3月初,一则并不起眼的产权转让公告,在国内双碳领域激起了不小的涟漪。
山东产权交易中心的信息显示,中国大唐集团绿色低碳发展有限公司(下称“大唐低碳公司”)已于3月5日正式挂牌,拟出售其持有的海南国际碳排放权交易中心有限公司(下称“海碳中心”)35%股权,转让底价为1482.25万元,挂牌期至4月1日。

作为海碳中心的创始股东及第一大股东,大唐此举无异于宣告了其战略性的撤退。
光环之下的现实困境
海碳中心的“成绩单”与亏损现状
海碳中心并非普通的区域交易所。它诞生于2022年7月25日,头顶“国内首个定位于国际的碳排放权交易场所”光环,依托海南自贸港“跨境资金流动自由便利”的特殊政策,被寄予厚望——作为连接国内国际双碳市场的枢纽,重点探索国际自愿减排量(如VCS/GS)、蓝碳及海洋碳汇等特色交易。
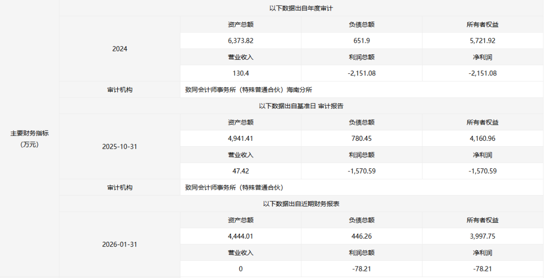
但根据转让公告中披露的财务数据来看,海碳中心自2024年以来便持续陷入经营困境:

*上表截自挂牌公告
2024年度,海碳中心营业收入130.4万元,净亏损高达2151.08万元;2025年(截至10月31日),海碳中心营业收入47.42万元,净亏损1570.59万元;2026年(截至1月31日),海碳中心营业收入为0,净亏损78.21万元。
简单计算,短短两年时间,海碳中心的累计亏损已超过3800万元。对于一个成立仅三年多的交易平台而言,持续的巨额亏损意味着主营业务尚未形成自我造血的闭环。尽管转让公告中附带了海南省地方金融管理局同意其变更第一大股东的复函,表明官方对此次股权变动持开放态度,但这依然无法掩盖其运营初期的艰难。
成绩寥寥的原因,与整个国际碳交易市场的大环境息息相关。
一方面,备受期待的全球统一碳市场机制——《巴黎协定》第六条(特别是6.4条)虽在COP29上有所进展,但具体细节和落地实施仍处于起步阶段,导致国际碳信用的跨境交易规则尚不清晰。
另一方面,海碳中心主打的国际自愿减排量(VCS等),正面临国际社会对碳信用质量“洗绿”风险的严格审视,市场信心的重建需要时间。与此同时,国内市场的焦点正集中在刚刚扩容的全国碳排放权交易市场(新增钢铁、水泥、铝冶炼行业)以及重启后的国家核证自愿减排量(CCER)上。在这样一个“攘外必先安内”的关键节点,主打“国际”牌的海碳中心,其业务优先级在市场主体眼中似乎被暂时搁置了。
为何而来
大唐入局海碳中心的战略初衷
既然如今面临亏损和退出,那么当年大唐为何要斥重资入局,甚至拿下第一大股东的位置?
这背后,实则是发电央企深度参与“双碳”战略、抢占国际碳金融高地的必然逻辑。
回顾2022年前后,正值全国碳市场第一个履约周期刚刚结束,发电行业作为首个纳入行业,碳资产管理的需求急剧上升。大唐集团于2021年9月1日成立中国大唐集团绿色低碳发展有限公司,作为其实施碳资产管理与市场运营的核心平台。
对于大唐这样的发电巨头而言,参股海碳中心至少有三重战略目的。一是掌握定价话语权。通过深度绑定交易所,大唐可以更敏锐地把握碳价波动,为其庞大的碳配额资产进行最优配置。二是布局国际通道。海碳中心是连接国际市场的窗口。随着未来中国碳市场可能与国际接轨,拥有海碳中心股权意味着在未来的国际碳信用互认、跨境交易中占得先机。2025年底,中国与欧盟等国宣布加入“合规碳市场开放联盟”,预示着未来国际碳标准协同是大势所趋。大唐的提前卡位具有很强的前瞻性。三是探索蓝碳等新兴业态。海南拥有丰富的海洋碳汇(蓝碳)资源,大唐可以通过海碳中心平台,参与到蓝碳方法学成为国际公认标准的进程中,拓展新的业务增长极。
事实上,大唐对海碳中心的定位一度是“参照控股企业加强管控”。根据大唐集团电子商务平台2025年6月的一则采购公示显示,大唐低碳公司曾依据相关批复,明确对海碳中心“参照控股企业加强管控”,甚至在技术咨询业务协同上采取了直接采购的方式。这都说明,在很长一段时间里,大唐是将海碳中心视为其绿色低碳产业链条上的关键一环来深度绑定的。
撤退的逻辑
当战略愿景遭遇商业现实
既然当初如此重视,如今又为何要挂牌转让?此次退出,不能简单解读为“不看好碳市场”,而应看作是在特定周期内,央企基于财务回报与主业聚焦的战略性“止损”与“调仓”。
首先,持续的亏损与严格的国资监管要求相悖。
作为全资国有企业,大唐低碳公司面临着国有资产保值增值的考核压力。面对海碳中心累计超3700万元的亏损,且短期内看不到盈利拐点的情况下,继续持有这笔带来负收益的“战略投资”,其机会成本巨大。1482.25万元的挂牌价,与其说是对海碳中心未来的估值,不如说是基于现状的资产处置诉求。
其次,是战略重心的转移——从“抢占赛道”到“深耕主业”。
2025年以来,全国碳市场迎来了里程碑式的扩容,新增了钢铁、水泥、铝冶炼三大行业,覆盖排放量占比提高至60%以上。对于大唐这样的发电集团而言,其核心压力依然来自于发电行业的配额履约。与其在一个前途未卜的国际交易所消耗精力,不如将资源集中用于服务自身集团内部的碳资产管理、节能降碳技术改造以及应对日益严格的碳排放双控要求。
最后,国际碳信用的变现周期远比预想的要长。
海碳中心设立的初衷是交易国际自愿减排量。尽管中国拥有大量的VCS项目存量,但这些存量如何通过海碳中心变现,涉及到复杂的国际规则对接等问题。在规则没有完全打通之前,海碳中心实际上处于“有米难为炊”的尴尬境地。2026年截至1月31日营业收入为0,便是最直观的体现。
未来何去何从?
大唐的退出,对于海碳中心而言,或许是一个新的开始。海南省的官方复函同意其变更第一大股东,意味着海碳中心必须寻找能够带领它走出困境的新“领航员”。
未来的接盘方,或许需要具备更强的国际金融运作能力,或者是在海洋碳汇、生态补偿领域有深厚资源的实体。毕竟,连接国际始终是中国碳市场发展的必经之路,海南自贸港的区位优势依然存在。
而对于大唐而言,退出海碳中心并不意味着退出碳市场。恰恰相反,这是一种“做减法”的战略聚焦。在当前全国碳市场加速建设、绿电交易与碳市场协同发展的新阶段,大唐需要把真金白银和核心团队,投入到更紧迫、更确定的国内减碳战场上。
不是所有的先行者都能坚持到最后,但每一次的战略调整,都在为市场走向成熟校准方向。
免责声明:本站所有信息均来源于互联网搜集,并不代表本站观点,本站不对其真实合法性负责。如有信息侵犯了您的权益,请告知,本站将立刻删除。
